
Ebbene sì, il giorno in cui diremo addio ai vecchi tergicristalli sta per arrivare. Tesla, l’azienda di quel gran genio di Elon Musk ha infatti ricevuto poche ore fa l’accettazione di un brevetto depositato nel 2019 che dire addio gli antichi tergicristalli, sostituiti da moderni e futuristici raggi laser.
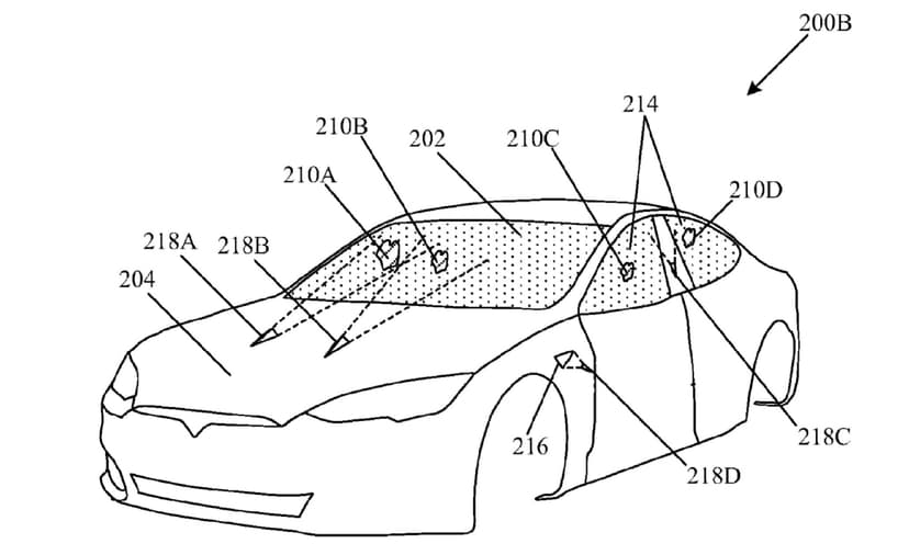
A svelare il brevetto, depositato come “Pulizia laser pulsata di detriti accumulati su articoli di vetro in veicoli e gruppi fotovoltaici”, è stato l’imprenditore Sawyer Merritt con un post su Twitter immediatamente diventato virale: “Si tratta di un sistema di pulizia che include un gruppo ottico in grado di emettere un raggio laser per irradiare una precisa zona del vetro del veicolo, dotato di circuiti di rilevamento e controllo che riconoscono lo sporco accumulato. Il circuito calibra una serie di parametri associati al raggio e ne controlla il livello di esposizione sullo sporco accumulato, gestendo la pulsazione del laser in modo da limitare la penetrazione a una profondità inferiore allo spessore del vetro e rimuovere così soltanto lo sporco accumulato”.
Dal poco che trapela, il sistema non sarebbe quindi brevettato soltanto per uso automobilistico, ma troverebbe applicazione su qualsiasi superficie in vetro, compresi i pannelli solari. Impossibile, al momento, tentare di conoscere l’eventuale data di debutto o di entrata in commercio, ma la speranza degli automobilisti di dire addio alle spazzole da sostituire ciclicamente resta alta.
Comunque vada, si avvicina la fine di un dispositivo rimasto pressoché uguale dal 1905, anno in cui Mary Anderson, allevatrice di bestiame dell’Alabama, brevetta un braccio esterno ad azionamento manuale per detergere il parabrezza da sporco e pioggia. Prima di allora, gli automobilisti erano costretti a fermarsi e pulirlo a mano. Adottati dall’industria automobilistica che li collega all’impianto elettrico, nel 1969 si arricchiscono dell’intermittenza, un’idea questa volta di Robert Kearns, rivendicata solo al termine di una lunga battaglia legale con il marchio “Ford”.










