Vai al contenuto
QC Quotidiano del CanaveseQC Quotidiano del Canavese
  • Cronaca
  • Politica
  • Made in Canavese
  • Sport
  • Cultura ed Eventi
  • QCuccioli
  • Lifestyle
  • Opinione
  • CR Piemonte
  • Comuni
  • Segnalazioni
  • L'Opinione
  1. Home
  2. /Lifestyle
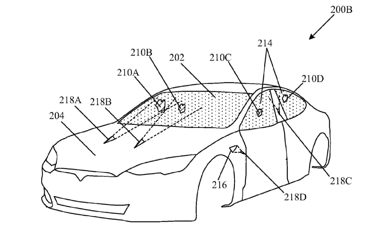
  3. /TECNOLOGIA – Addio tergicristalli, arriva il raggio laser
  4. /Foto 1 di 2
AD — Clickio Leaderboard top
Articolo1 / 2Griglia
Foto 1
Foto 1Foto 2
AD — Clickio Billboard 2
Pubblicità
QC Quotidiano del Canavese

Ultime notizie di cronaca, politica, sport, cultura ed eventi dal Canavese. Aggiornamenti quotidiani dalla redazione.

Rubriche

  • Cronaca
  • Politica
  • Sport
  • Cultura & Eventi

Informazioni

  • Chi Siamo
  • Contattaci
  • Pubblicità
  • Redazione

Legale

  • Privacy
  • Cookie Policy
  • Note Legali
  • Accessibilità

© 2026 QC Quotidiano del Canavese. Tutti i diritti riservati.
Testata giornalistica registrata — Tribunale di Ivrea, registrazione 1/2015

Editore: Trecentodieci SNC — Via IV Novembre, 2 10086 Rivarolo Canavese TO

LEINI' - Gazzarra al termine della partita di pallanuoto: allenatore colpito con un pugno in faccia6 ore faIVREA - Ancora una rapina alla sala giochi di via Sant'Ulderico: bottino 800 euro11 ore faCANAVESE - Infermieri anche meccanici, costretti a fare manutenzione alle auto dell'Asl To4: il Nursind diffida l'azienda sanitaria13 ore faCASTELLAMONTE - Ladri nelle scuole della città: svaligiate le macchinette di bevande e snack1 giorno faBANCHETTE - Lite in strada a coltellate: operaio trasportato in ospedale a Ivrea, aggressore denunciato a piede libero1 giorno faVALPERGA - Finto corriere in azione a Braidacroce: truffa sventata grazie a una vicina di casa6 ore faCUORGNE' - Centro per le famiglie a Villa Filanda, la sindaca: «Un modo per restituirla alla collettività, nessuno escluso»10 ore faSAN MAURIZIO CANAVESE - Le eccedenze della mensa scolastica donate ai cittadini bisognosi16 ore faCASTELNUOVO NIGRA - Incendio al tetto di una casa, intervento in forze dei vigili del fuoco17 ore faRIVAROLO CANAVESE - Ladri alle elementari: «La scuola è sempre rimasta aperta, nessun alunno è stato mandato a casa»1 giorno faPONT CANAVESE - Prende avvio il progetto del Centro Famiglie in un bene confiscato alle mafie1 giorno faROMANO CANAVESE - Comune commissariato: arriva il viceprefetto Francesco Farina. Si voterà nel 20271 giorno faLEINI' - Gazzarra al termine della partita di pallanuoto: allenatore colpito con un pugno in faccia6 ore faIVREA - Ancora una rapina alla sala giochi di via Sant'Ulderico: bottino 800 euro11 ore faCANAVESE - Infermieri anche meccanici, costretti a fare manutenzione alle auto dell'Asl To4: il Nursind diffida l'azienda sanitaria13 ore faCASTELLAMONTE - Ladri nelle scuole della città: svaligiate le macchinette di bevande e snack1 giorno faBANCHETTE - Lite in strada a coltellate: operaio trasportato in ospedale a Ivrea, aggressore denunciato a piede libero1 giorno faVALPERGA - Finto corriere in azione a Braidacroce: truffa sventata grazie a una vicina di casa6 ore faCUORGNE' - Centro per le famiglie a Villa Filanda, la sindaca: «Un modo per restituirla alla collettività, nessuno escluso»10 ore faSAN MAURIZIO CANAVESE - Le eccedenze della mensa scolastica donate ai cittadini bisognosi16 ore faCASTELNUOVO NIGRA - Incendio al tetto di una casa, intervento in forze dei vigili del fuoco17 ore faRIVAROLO CANAVESE - Ladri alle elementari: «La scuola è sempre rimasta aperta, nessun alunno è stato mandato a casa»1 giorno faPONT CANAVESE - Prende avvio il progetto del Centro Famiglie in un bene confiscato alle mafie1 giorno faROMANO CANAVESE - Comune commissariato: arriva il viceprefetto Francesco Farina. Si voterà nel 20271 giorno fa