Vai al contenuto
Cronaca
Politica
Made in Canavese
Sport
Cultura ed Eventi
QCuccioli
Lifestyle
Opinione
CR Piemonte
Comuni
Segnalazioni
L'Opinione
LEINI' - Gazzarra al termine della partita di pallanuoto: allenatore colpito con un pugno in faccia
6 ore fa
IVREA - Ancora una rapina alla sala giochi di via Sant'Ulderico: bottino 800 euro
11 ore fa
CANAVESE - Infermieri anche meccanici, costretti a fare manutenzione alle auto dell'Asl To4: il Nursind diffida l'azienda sanitaria
13 ore fa
CASTELLAMONTE - Ladri nelle scuole della città: svaligiate le macchinette di bevande e snack
1 giorno fa
BANCHETTE - Lite in strada a coltellate: operaio trasportato in ospedale a Ivrea, aggressore denunciato a piede libero
1 giorno fa
VALPERGA - Finto corriere in azione a Braidacroce: truffa sventata grazie a una vicina di casa
6 ore fa
CUORGNE' - Centro per le famiglie a Villa Filanda, la sindaca: «Un modo per restituirla alla collettività, nessuno escluso»
10 ore fa
SAN MAURIZIO CANAVESE - Le eccedenze della mensa scolastica donate ai cittadini bisognosi
16 ore fa
CASTELNUOVO NIGRA - Incendio al tetto di una casa, intervento in forze dei vigili del fuoco
17 ore fa
RIVAROLO CANAVESE - Ladri alle elementari: «La scuola è sempre rimasta aperta, nessun alunno è stato mandato a casa»
1 giorno fa
PONT CANAVESE - Prende avvio il progetto del Centro Famiglie in un bene confiscato alle mafie
1 giorno fa
ROMANO CANAVESE - Comune commissariato: arriva il viceprefetto Francesco Farina. Si voterà nel 2027
1 giorno fa
LEINI' - Gazzarra al termine della partita di pallanuoto: allenatore colpito con un pugno in faccia
6 ore fa
IVREA - Ancora una rapina alla sala giochi di via Sant'Ulderico: bottino 800 euro
11 ore fa
CANAVESE - Infermieri anche meccanici, costretti a fare manutenzione alle auto dell'Asl To4: il Nursind diffida l'azienda sanitaria
13 ore fa
CASTELLAMONTE - Ladri nelle scuole della città: svaligiate le macchinette di bevande e snack
1 giorno fa
BANCHETTE - Lite in strada a coltellate: operaio trasportato in ospedale a Ivrea, aggressore denunciato a piede libero
1 giorno fa
VALPERGA - Finto corriere in azione a Braidacroce: truffa sventata grazie a una vicina di casa
6 ore fa
CUORGNE' - Centro per le famiglie a Villa Filanda, la sindaca: «Un modo per restituirla alla collettività, nessuno escluso»
10 ore fa
SAN MAURIZIO CANAVESE - Le eccedenze della mensa scolastica donate ai cittadini bisognosi
16 ore fa
CASTELNUOVO NIGRA - Incendio al tetto di una casa, intervento in forze dei vigili del fuoco
17 ore fa
RIVAROLO CANAVESE - Ladri alle elementari: «La scuola è sempre rimasta aperta, nessun alunno è stato mandato a casa»
1 giorno fa
PONT CANAVESE - Prende avvio il progetto del Centro Famiglie in un bene confiscato alle mafie
1 giorno fa
ROMANO CANAVESE - Comune commissariato: arriva il viceprefetto Francesco Farina. Si voterà nel 2027
1 giorno fa
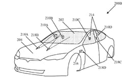
Foto 2 di 2 — TECNOLOGIA – Addio tergicristalli, arriva il raggio laser — QC Quotidiano del Canavese | Quotidiano Canavese
Home
/
Lifestyle
/
TECNOLOGIA – Addio tergicristalli, arriva il raggio laser
/
Foto 2 di 2
AD — Clickio Leaderboard top
Articolo
2 / 2
Griglia
AD — Clickio Billboard 2